- Главная
- Оплата
- Контакты и сертификаты
-
Модульные Источники питания
- Диспетчеризация Skov/Bigdutchman
- Разъемы и запасные части
- Управления климатом Air Climatic Control
- Регуляторы Микроклимата
- Датчики аммиака (NH3)
- Платы управления и источники питания
- Датчики дифференциального давления (разряжения)
- Датчики температуры резистивные
- Сервоприводы LUFBERG
Датчик температуры ДТ-10К.1.6x50.НС.2Х
Производитель: ЭнергоПромТ
Модель: Датчик температуры ДТ-10К.1.6x50.НС.2Х (аналог SF.7)
Наличие: Есть в наличии
Цена: 1 502.00 р.Без НДС: 1 250.00 р.
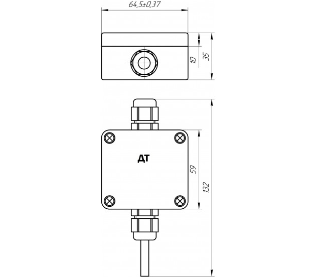
Датчик температуры ДТ-10К.1.6x50.НС.2Х (аналог SF.7)
Датчик температуры резистивный предназначен для измерения температуры воздуха на объектах сельского хозяйства: птичниках и свинофермах.
Принцип действия: Датчики монтируются в месте, где необходимо контролировать температуру воздуха. В датчике расположен терморезистор, сопротивление которого изменяется обратно пропорционально изменению температуры в месте установки датчика.
Датчики температуры Тип корпуса Настенный Номинальное напряжение, Uном 10 В DC Номинальное сопротивление при 20 °С 10 кОм Временная константа T63 5 мин. при скорости воздуха 0,5 м / с Материал корпуса Поликарбонат, Текаформ Присоединение Клемник Степень защиты датчика по ГОСТ 14254-96 IP68 Диапазон рабочих температур -40°С< ta <+85°С Написать отзыв
Внимание: HTML не поддерживается! Используйте обычный текст.
Оценка: Плохо Хорошо
Введите код, указанный на картинке: