Датчик углекислого газа ДУГ 24.0-10.1.5.Б.К

Артикул: -4386

Описание

ВЫХОД: 0-10В; НАСТЕННЫЙ; ДИАПАЗОН: 0...5000ррм;  С РУЧНОЙ КАЛИБРОВКОЙ, С КАБЕЛЕМ

 

Датчик ДУГ 24.0-10.1.5.Б.К предназначен для измерения и непрерывного преобразования значения концентрации углекислого газа в воздухе в аналоговый выходной сигнал напряжения постоянного тока. Датчик предназначен для применения в составе систем управления и контроля микроклимата в сельском хозяйстве и промышленности. С помощью датчиков СО2, которые дают точный показатель концентрации углекислого газа (CO2) в воздухе, возможно более точное управление производительностью вентиляционной системы, в зависимости от заданного максимального значения содержания углекислого газа. При использовании датчика в сельскохозяйственной отрасли можно уменьшить потери тепловой энергии в зимний период, без вреда для поголовья животных и птицы.

 

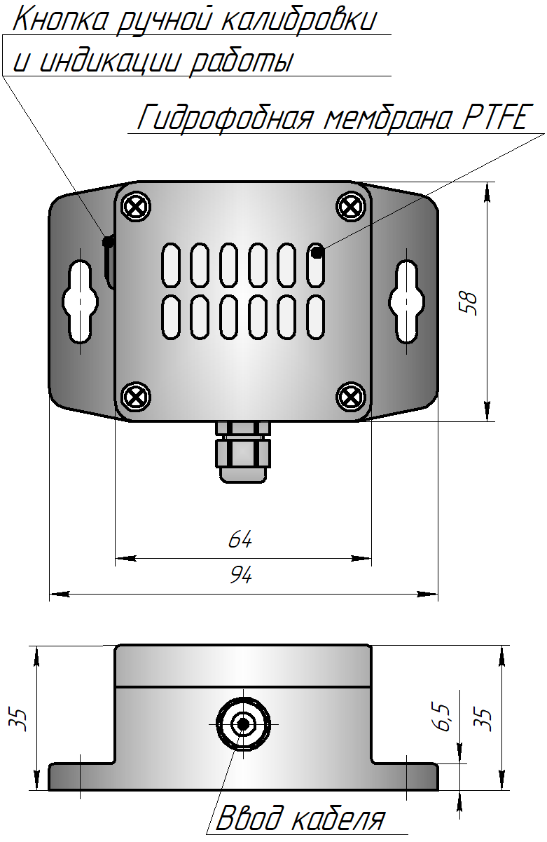
Ручная калибровка осуществляется в процессе эксплуатации датчика (не реже 1 раза в год). Возможно 2 режима калибровки датчика на 0 ppm или 400 ppm.

Калибратор доступен для заказа на нашем сайте.

 

Благодаря усиленной обработке платы датчика высококачественным лаком и подключение напрямую кабелем (без разъема) возможно использование датчика при относительной влажности до 95%. Специально разработан для использования в гребницах!

Принцип работы. Чувствительный сенсор датчика выполнен по технологии NDIR (не дисперсионный инфракрасный сенсор). На выходе датчика формируется напряжение, прямо пропорциональное концентрации углекислого газа.

Благодаря защитной PTFE мембране возможна работа датчика в условиях высокой влажности воздуха (более 95%)!

Характеристики

Выход датчика 0...10VDC
Тип корпуса Настенный
Диапазон измерений, ppm 0...5000
Тип калибровки Ручная
Способ подключения Кабель
Тип сенсора NDIR
Погрешность измерения ±(40 ppm + 3% С*) *С -измеренная величина
Напряжение питания, VDC 15...30
Время готовности после подачи питания, мин. 2
Ток потребления, mA 150
Рабочая температура, °С -10...50
Рабочая влажность, %RH 0...98
Аналог SKOV

Отзывы

Нет оценок
Без оценки
Прикрепить изображение (не более 5 мб)
Помогите другим пользователям с выбором - будьте первым, кто поделится своим мнением об этом товаре.

Как купить

Оформить заказ на сайте просто:

  1. Выберите нужный товар в каталоге

  2. Нажмите кнопку «В корзину»

  3. Перейдите в корзину и оформите заказ

  4. После оформления с вами свяжется наш менеджер для подтверждения деталей, оплаты и доставки

Если потребуется помощь с выбором оборудования или оформлением заказа — мы с радостью вам поможем.

Оплата

Мы предлагаем удобные и прозрачные способы оплаты:

Безналичный расчет
Доступен для физических и юридических лиц. При необходимости возможна работа по договору поставки с предоставлением всех закрывающих документов.

Оплата банковской картой
При самовывозе вы можете оплатить заказ пластиковой картой МИР, VISA или MasterCard или наличными.

Если у вас есть вопросы по оплате или документам — наш менеджер всегда готов проконсультировать вас.

Доставка

Мы предлагаем несколько вариантов получения заказа:

Доставка по Челябинску

  • Стоимость доставки в черте города — 900 ₽

  • Бесплатная доставка оборудования в день монтажа

  • Бесплатная доставка до транспортной компании для отправки в другие регионы

Самовывоз
Удобный, быстрый и бесплатный способ получения заказа.

Адрес:

г. Челябинск, ул.Дегтярева 60А
 

Телефон:
+7(351)223-08-53

Время работы:
ПН–ПТ: 8:30–17:00 (без перерыва)

СБ, ВС: выходной

19 500 ₽ /шт.
-100%
Экономия -19500 ₽
Достаточно
Выбранный вариант — Датчик углекислого газа ДУГ 24.0-10.1.5.Б.К
Характеристики
Выход датчика 0...10VDC
Тип корпуса Настенный
Диапазон измерений, ppm 0...5000
Тип калибровки Ручная
Способ подключения Кабель
Тип сенсора NDIR
Цена действительна только для интернет-магазина и может отличаться от цен в розничных магазинах
Нужна консультация?
Наши специалисты ответят на любой интересующий вопрос
Датчик углекислого газа ДУГ 24.0-10.1.5.Б.К
Датчик углекислого газа ДУГ 24.0-10.1.5.Б.К
В наличии
19 500 ₽ /шт.
-100%
Экономия -19500 ₽
Ваша корзина пуста
Исправить это просто: выберите в каталоге интересующий
товар и нажмите кнопку «В корзину».
Перейти в каталог
К сожалению, раздел пуст
Исправить это просто: выберите в каталоге интересующий
товар и нажмите кнопку «В избранное».
Перейти в каталог